Round Gas Vent Collection Aluminum 5 Inch DSA Roof Flashing with 5 Inch Inner Diameter
This Aluminum 5 Inch DSA Roof Flashing with 5 Inch Inner Diameter from the Round Gas Vent series is a Type B gas component and consists of the duralock system for a tight seal. Use with metal or tile roofs. Available in Adjustable Roof Flashing style (0/12-6/12). Made of dead soft aluminum. Refer to Roof Flashing tables for dimensions.
Features:
Fuel Type: Gas, Liquid Propane
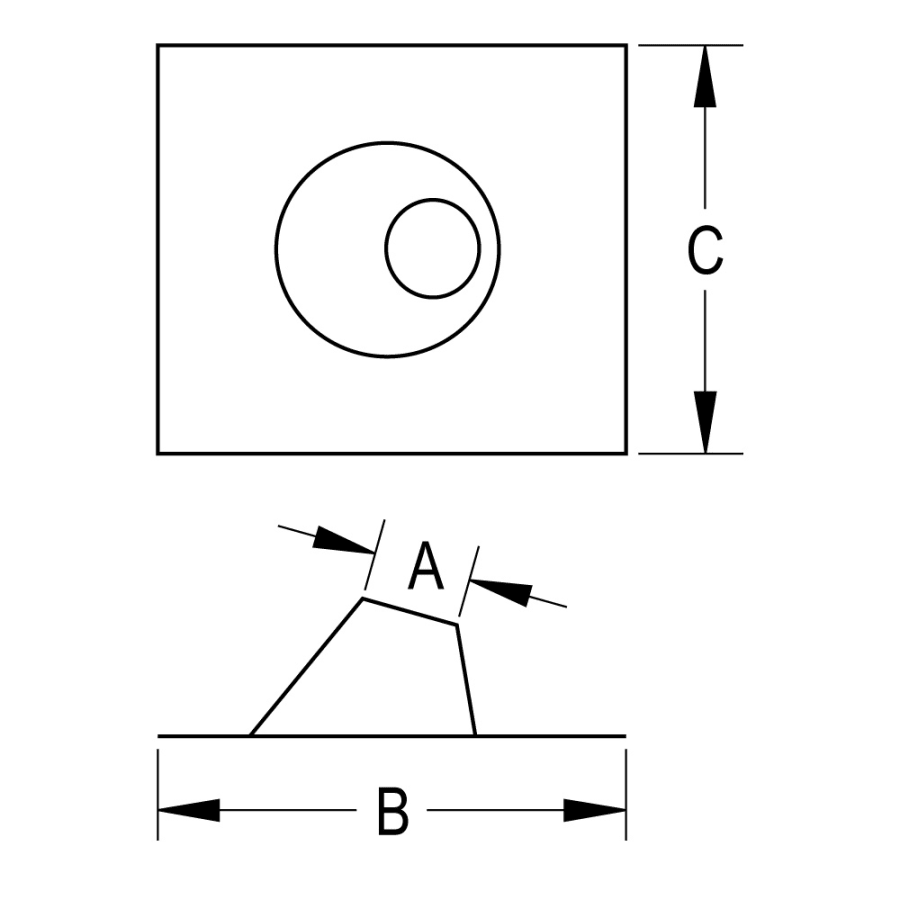
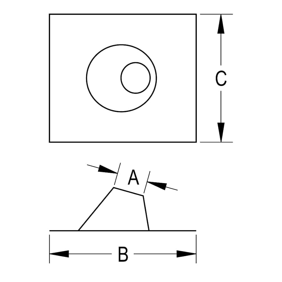
Inner Diameter: 5″
Length: 24.8125″
Width: 22″
Double Wall Construction
UL Listed
DuraVent Type B Gas Vent is designed to meet the rugged demands of the job site. The inner wall is recessed to eliminate damage in handling. DuraVent’s innovative system for a lock-tight connection for Type B Gas Vent called DuraLock. See the alignment indicators meet; feel the ends grasp together; hear the snap as the connection firmly locks into place. Type B gas vents are not suitable for use with wood-burning or coal applications, industrial ovens, exhaust ranges and hoods, grease or pollution ducting, or as free-standing exhaust vents for high temperature applications. Type B Gas Vent has been engineered to heat up rapidly. It remains hot during the operation of the appliance with minimal condensation in the appliance and vent system. Pipe lengths are available in multiple lengths, 6 to 60 inches, with a full complement of adjustable and rigid fittings.
Looking for Simpson Dura-Vent? You found it! Simpson Dura-Vent has changed their name to DuraVent. DuraVent is a recognized technological leader in the venting industry. Consistently the first to market with new innovations in venting systems, DuraVent has captured a leadership position in emerging markets. DuraVent has patents for several products and continues to design safe and technologically advanced venting. The company’s research into solving problems with corrosion, when biofuels such as corn are used, led to the break-through patent for PelletVent Pro. Scientifically proven materials and unequalled engineering make DuraVent products not only the best choice, or safest choice, but the only choice for professional quality venting products.
Additional DuraVent Links
View the Manufacturer Warranty
Browse all DuraVent Products
DuraVent 5 Inch Round Gas Vent Collection
Specifications
| Width | 22 in. |
| Product Weight | 10 lbs. |
| Length | 24.8125 in. |
| Inner Pipe Gauge | 28 |
| Outer Pipe Gauge | 28 |
| Pipe Inside Diameter | 5 in. |
| Material | Aluminum |
| Configuration | Flashing |
| Inner Pipe Material | Aluminum |
| Outer Pipe Material | Galvanized Steel |
| Pipe Class | Type B |
| Pipe Shape | Round |
| Collection | Round Gas Vent |
| Approved for Commercial Use | No |
| Certifications | UL |
| Application | Boiler, Category I Appliances, Draft Hood Equipped Appliance, Fireplace, Furnace, Space Heater, Type B Appliance, Wall Heater, Water Heater |
| UL Listing Number | UL 441, ULC S605 |
| Fuel Type | Gas |
| Color | Aluminum |
| Color Tone | Neutrals |




Reviews
There are no reviews yet.